12-channel LED driver for digital signage and displays
Diodes Incorporated has introduced a new 12-channel, constant-current LED driver, designated the AL58221.
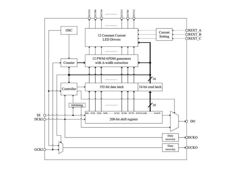
The LED driver features 12 open-drain outputs that are rated to 24V and sink up to 60mA of high-accuracy current with a fast transient response. The channel-to-channel LED current accuracy is typically ±1% and the regulated output current tolerance is ±0.1%.
Operating over a 3-V to 5.5-V input, the LED driver uses adaptive pulse density modulation (APDM) to help mitigate non-ideal IOUT distortion and enhance visual refresh rates for enhanced performance. It can be used for indoor and outdoor LED video signage and displays, variable messaging signs (VMS), architectural and decorative LED lighting systems, and LCD backlighting.
The LED current is set by three external resistors (for RGB master setting), with each channel’s average output current being programmed independently via its digital interface. It features a 10 MHz double-edge triggered data clock input that reduces EMI. The device’s two-wire serial interface sends grayscale data to the function-control registers that store the configuration information. It controls grayscale resolution and clock frequency, current output waveform selection, and internal-latch function.
The LED driver uses APDM to increase the visual refresh rate to deliver over 1000 Hz at 16-bit and more than 256 kHz at 8-bit grayscale. This technique reduces flicker and provides output-current bilateral processing for EMI reduction. The AL58221 uses a clock duty recovery technique with pulse retiming to support a longer distance connection. Its two-wire serial interface also enables cascading applications for up to 1,030 devices.
Within the same LED driver family, the recently introduced AL58263 is a 16-channel device with 16-bit PWM grayscale dimming control for higher resolution and larger display panel applications.
The AL58221 and AL58263 are available in the thermally enhanced TSSOP-24EP (Type A1-B) package.
If you enjoyed this article, you will like the following ones: don't miss them by subscribing to :
eeNews on Google News
